אין מוצרים בסל הקניות.
₪518 מחיר כולל מע"מ
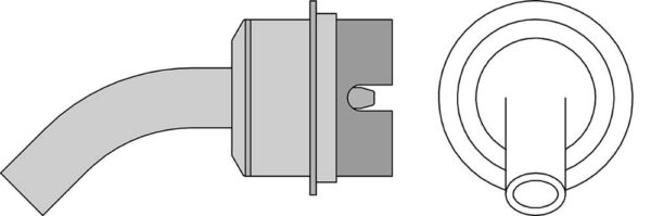
ראש לתחנת אוויר חם.
בצורה של צינורית בעלת קוטר של 6 מילימטר מוטה בזווית של 45 מעלות.
מתאים לתחנות WHA700 / WHA3000P.
ללא חיבור וואקום להרמת רכיבים (כאשר מחובר לתחנה WHA3000P)
המלאי אזל
כלי נגישות